ENGLISH
標準系列
無心磨床
NC系列
中心孔磨床
CNC系列
無心磨床
外圓磨床
內圓磨床
3D同步研磨,保証中心孔精準
工件設定精準,真圓度誤差小於。1μm
中心孔表面粗度N4~N6=0.2-0.8μm。
砂輪修整採NC控制,具修整量尺寸補正功能。
工件夾持自動對心,簡化工件設定。
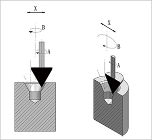
中心孔研磨示意圖
獨特的研磨動作
3D同步研磨,保証中心孔精準
1. 砂輪的旋轉運動
2. 砂輪主軸行星運動
3. 砂輪沿錐形表面直線往復運動
中心孔定位精準,中心孔與軸心對準誤差小於10μm。
內錐孔角度誤差小於1秒。
應用例:
切削工具
主軸
刀把
齒輪軸
回火傳動軸
規格
SRD-1000
中心孔直徑
Ø1 ~ 60 mm
工件夾持範圍
Ø4 ~ 220 mm
工件長度與重量
50 ~ 1000 mm, max. 120 kgs
中心孔角度
60°
研磨主軸轉速
45,000 rpm/min.